近日,国内 3A 游戏大作《黑神话:悟空》于 2024 年 8 月 20 日发售。此游戏由深圳市游科互动科技有限公司旗下的子公司杭州游科互动科技有限公司开发制作,是以中国神话为背景的单机版动作角色扮演游戏。《黑神话:悟空》自项目开启以来热度始终未减,作为国内首款 3A 游戏,上线首日全平台累计销量超 450 万份,总销售额逾 15 亿元。STEAM 平台同时在线玩家数突破 220 万,排名历史峰值第二。8 月 23 日,该作品在 Steam 平台三天内的销量已突破 840 万份。这款游戏不仅凭借其精湛的画面和流畅的战斗系统赢得全球玩家称赞,而且后期团队还在知识产权方面进行了全面的保护与布局,为企业树立了新标杆。
本文将从该游戏的知识产权布局层面,分析相关网络科技公司应如何有效保护其软件/产品的知识产权?
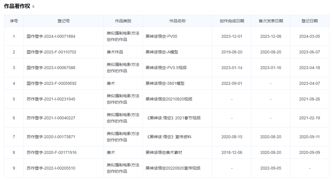
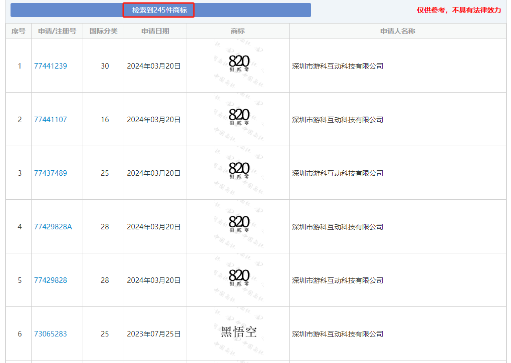
在游戏官网页面正下方已经标明,游戏的著作权人为游戏开发者:杭州游科互动科技有限公司。 通过公开信息查询有关游戏的相关著作权也均在杭州游科公司名下,可见申请人对著作权的权属是比较清晰的。 从著作权的名称来看: 申请人对于游戏内黑神话悟空的PV、模型、宣传资料、美术素材等均申请了著作权保护,基本涵盖了游戏作品可能被认定的视听作品、美术作品、计算机软件等。 从著作权的登记时间来看: 软件著作权登记中,《黑神话:悟空》游戏软件于 2023 年 1 月 20 日进行登记。由此可以推断,该公司早在一年半以前,这款游戏的基础代码便已基本完成。其作品著作权的时间跨度从 2020 年游戏开发之初,一直持续到 2024 年。可见,申请人在开发过程中对知识产权的保护极为重视。 通过商标局官网的公开信息可知,总公司深圳游科共申请注册了 246 件商标。本文选取了部分商标信息予以展示,从中可以看到,深圳游科不仅将游戏中的相关内容,如“黑神话姜子牙、小倩、山海、搜神、大荒”等申请了商标,还把游戏发布日(8月20日)“820 捌二零”也申请了商标。 通过专利局官网进行查询可知,深圳游科虽进行了专利布局,然而其在 2016 年申请的三件发明专利均被驳回,此后也再未提出其他专利申请。 通过上文对游科相关知识产权的申请情况进行分析,可以看出游科在知识产权保护方面提前做了较为充分的准备,但仍不免存在些许遗漏之处。那么,对于相关的网络科技公司而言,在软件或产品发布之前,应如何有效地保护自己的知识产权呢? 游戏内容:游戏中的美术元素(如角色形象、场景、道具等)、音乐作品、剧情、剧本对话文本等都受到著作权法的保护。 ①作为视听作品整体保护 著作权法不保护思想,只保护思想的表达,对于通过视觉和听觉为表达方式,通过电子媒体向大众传播的作品,通过图像和声音的有机结合,为观众创造了独特的艺术体验。游戏中的视听效果、连续动作画面可做为视听作品申请著作权。 《黑神话:悟空》作为一款大型动作角色扮演游戏,其连续动态画面、剧情设定、场景设计等元素共同构成了一个完整的视听作品,可以受到著作权法的整体保护。 ②各个元素拆分保护 《黑神话:悟空》中的各个元素,如角色名称、场景地图、人物形象、音乐、对话、游戏源代码等,也可以被拆分出来单独进行保护。大致可分为以下几种: 文字作品保护:游戏中的背景介绍、技能说明、任务介绍等文字内容,如果具有独创性,可以构成文字作品并受到著作权法保护。 美术作品保护:游戏内的角色形象、场景地图、道具等美术设计元素,如果具有独创性并达到了一定的创作高度,可以构成美术作品。 音乐作品保护:游戏中的背景音乐、插曲、音效等元素,如果具有独创性,可以构成音乐作品。 计算机软件保护:游戏的源代码和目标代码作为计算机软件,直接受到著作权法的保护。相关证据如计算机软件著作权登记证书、研发文档等,可以作为证明权属的初步证据。 及时注册:游戏开发公司应尽早对游戏的名称、logo、角色名称等进行商标注册。像游科互动在游戏还没上线之前,就围绕 “黑神话”“黑神话悟空”“blackmythwukong” 中英文、全品类申请注册了高达 246 件商标,这种提前布局商标的意识值得借鉴,能够有效防止他人抢注商标,避免后续的纠纷和品牌受损 。 防止侵权:未经商标注册人许可,任何类似产品使用与其注册商标相同或近似的商标,均属侵权行为。如果发现有其他企业或个人在类似商品或服务上使用与《黑神话:悟空》相同或相似的商标,游戏开发公司应及时采取法律措施维权 。 ①技术创新 游戏中的技术创新,如独特的游戏引擎算法、图形渲染技术、网络同步技术等,如果具备新颖性、创造性和实用性,可以申请发明专利。 ②系统架构 游戏的系统架构,如游戏世界的设计、游戏经济系统的构建等,如果具有独特的创新点,也可以考虑申请专利。通过专利保护,游戏企业可以确保自己的系统架构不被他人轻易模仿或复制。 ③用户界面设计 用户界面设计(UI设计)也是游戏中可以申请专利的一个方面。独特的UI设计不仅可以提升游戏的视觉吸引力,还可以提高玩家的操作便利性和舒适度,如果游戏的UI设计具有新颖性和独特性,游戏企业可以申请外观设计专利来保护自己的设计成果。
